- Nowy
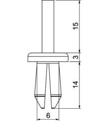
Nity rozprężne 6,5mm kanału
: 6022928
4012196364091
- producent:
- OBO BETTERMANN POLSKA Sp. z o.o.
- Kod Producenta:
- 6022928

